网上配资炒股安全吗
股票资金杠杆网 中兴通讯:2024年上半年净利润57.32亿元 同比增长4.76%


中兴通讯(000063)8月17日披露2024年半年报。2024年上半年,公司实现营业总收入624.87亿元,同比增长2.94%;归母净利润57.32亿元,同比增长4.76%;扣非净利润49.64亿元,同比增长1.11%;经营活动产生的现金流量净额为70.00亿元,同比增长8.94%;报告期内,中兴通讯基本每股收益为1.2元,加权平均净资产收益率为8.28%。

以8月16日收盘价计算,中兴通讯目前市盈率(TTM)约为12.99倍,市净率(LF)约为1.77倍,市销率(TTM)约为0.99倍。

公司近年市盈率(TTM)、市净率(LF)、市销率(TTM)历史分位图如下所示:



根据半年报,公司第二季度实现营业总收入319.09亿元,同比增长1.10%,环比增长4.35%;归母净利润29.91亿元,同比增长5.71%,环比增长9.14%;扣非净利润23.14亿元,同比下降5.72%,环比下降12.64%。

分产品来看,2024年上半年公司主营业务中,运营商网络收入372.96亿元,同比下降8.61%,占营业收入的59.69%;消费者业务收入160.19亿元,同比增长14.28%,占营业收入的25.64%;政企业务收入91.72亿元,同比增长56.09%,占营业收入的14.68%。

2024年上半年,公司毛利率为40.47%,同比下降2.75个百分点;净利率为9.14%,较上年同期上升0.26个百分点。从单季度指标来看,2024年第二季度公司毛利率为38.98%,同比下降3.06个百分点,环比下降3.04个百分点;净利率为9.24%,较上年同期上升0.44个百分点,较上一季度上升0.21个百分点。

分产品看,运营商网络、消费者业务、政企业务2024年上半年毛利率分别为54.32%、18.93%、21.77%。
数据显示,2024年上半年公司加权平均净资产收益率为8.28%,较上年同期下降0.65个百分点;公司2024年上半年投入资本回报率为4.19%,较上年同期下降0.41个百分点。

2024年上半年,公司经营活动现金流净额为70.00亿元,同比增长8.94%;筹资活动现金流净额10.37亿元,同比减少16.81亿元;投资活动现金流净额-113.83亿元,上年同期为-15.06亿元。
进一步统计发现,2024年上半年公司自由现金流为51.51亿元,上年同期为-3.56亿元。

2024年上半年,公司营业收入现金比为118.38%,净现比为122.12%。

营运能力方面,2024年上半年,公司公司总资产周转率为0.31次,上年同期为0.33次(2023年上半年行业平均值为0.22次,公司位居同行业7/37);公司应收账款周转率、存货周转率分别为2.99次、0.91次。

2024年上半年,公司期间费用为191.96亿元,较上年同期增加8674.20万元;但期间费用率为30.72%,较上年同期下降0.76个百分点。其中,销售费用同比下降9.29%,管理费用同比下降11.09%,研发费用同比下降0.51%,财务费用由去年同期的-8.14亿元变为4630.50万元。

资产重大变化方面,截至2024年上半年末,公司货币资金较上年末减少9.68%,占公司总资产比重下降4.56个百分点;应收款项融资较上年末减少81.82%,占公司总资产比重下降1.67个百分点;交易性金融资产较上年末增加1882.74%,占公司总资产比重上升1.40个百分点;存货较上年末减少0.42%,占公司总资产比重下降0.54个百分点。

负债重大变化方面,截至2024年上半年末,公司长期借款较上年末增加12.13%,占公司总资产比重上升2.04个百分点;应付短期债券较上年末减少70.07%,占公司总资产比重下降1.76个百分点;其他应付款(含利息和股利)较上年末增加64.92%,占公司总资产比重上升1.18个百分点;合同负债较上年末减少10.98%,占公司总资产比重下降0.96个百分点。

在偿债能力方面,公司2024年上半年末资产负债率为65.57%,相比上年末下降0.43个百分点;有息资产负债率为28.55%,相比上年末上升2.11个百分点。

2024年上半年,公司流动比率为1.91,速动比率为1.39。

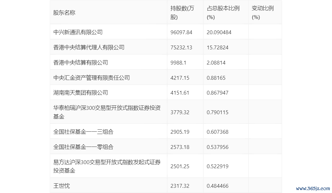
半年报显示,2024年上半年末公司十大流通股东中,持股最多的为中兴新通讯有限公司,占比20.09%。十大流通股东名单相比2024年一季报维持不变。在具体持股比例上,香港中央结算代理人有限公司、香港中央结算有限公司、华泰柏瑞沪深300交易型开放式指数证券投资基金、全国社保基金一一零组合、易方达沪深300交易型开放式指数发起式证券投资基金、王世忱持股有所上升,全国社保基金一一三组合持股有所下降。

筹码集中度方面,截至2024年上半年末,公司股东总户数为44.82万户,较一季度末下降了3.43万户,降幅7.12%;户均持股市值由一季度末的27.73万元上升至29.83万元,增幅为7.57%。

指标注解:
市盈率
=总市值/净利润。当公司亏损时市盈率为负,此时用市盈率估值没有实际意义,往往用市净率或市销率做参考。
市净率
=总市值/净资产。市净率估值法多用于盈利波动较大而净资产相对稳定的公司。
市销率
=总市值/营业收入。市销率估值法通常用于亏损或微利的成长型公司。
文中市盈率和市销率采用TTM方式,即以截至最近一期财报(含预报)12个月的数据计算。市净率采用LF方式,即以最近一期财报数据计算。
市盈率为负时,不显示当期分位数股票资金杠杆网,会导致折线图中断。

